我想分享一些失誤的case,這些都是無意間犯下的錯誤,沒有人能保證在自己的職業生涯中都能沒有失誤,而這些失誤都將成為其他人成長的養分。
★影像猜一猜
這是個歷史事件,當時的情況是,有個病人要來做Brain的perfusion,他顱內的血管有阻塞,因此可預期的在注射完ECD之後,應該可以看到腦部影像的缺損,不過如果事情都能夠發展的這麼順利,那麼科學就不會有進步了。事發的經過是這樣的,原本要注射的藥劑是Tc-99m ECD,可是不小心拿到旁邊的Tc-99m MDP,10:30注射的,接下來原本要做bone scan要打針時,就找不到Tc-99m MDP來注射,此時才發現打錯病人了,這時只好讓bone scan的病人回病房等,先緊急補叫一支MDP讓他用,接下來就必須面對這個打錯藥的病人了,我們的選擇有幾個,第一是跟病人坦承打錯藥了,請病人下次再來,同時詢問病人是否要做一次bone scan看看身體骨頭的狀況,不過坦白講,我們不喜歡這個選項,因為很有可能會讓事情發展到失控的狀況,因此我們採取了另一種方式來處理,就是請原本在外面等的病人進來,跟他說剛打針的劑量有點不夠,因此要再幫他加一點藥,坦白講這步驟還挺有風險的,於是我們替病人注射了ECD(11:00),當時我們的想法是,因為兩個藥物的分布區域並不相同,Tc-99m MDP沒有辦法穿透BBB,因此並不會干擾到腦部的影像,所以我們在刻意稍等了一下,在12:30開始做Brain的掃描,那時Tc-99m MDP在軟組織的清除也應該差不多了,照相的時候,在使用high resolusion collimator的情況下,每個頭的count數約在4~4.5 k counts,和平常相比並沒有明顯高出多少,因此理論上影響應該不會太大,從原始影像來看,就有點醜了,是一種骷顱頭加腦袋的影像合體,其實這時候就有點擔心,但是也只能硬著頭皮把影像照完,才能做下一步的決定。
結果揭曉,我放上當天與正常影像的比較圖。
![]() |
![]() |
| 整體count為77~82,MDP的確增加了很多count數,此外brain的影像加上了骨頭的影像,看起來就怪怪的 | 整體count為33~35,所看到的就是完全腦部的影像,左右的位置都相同,但是我忘記把影像調成一樣大了 |
![]() |
![]() |
| 在腦部外,可以看到略略的頭骨影像 | 正常的腦部影像 |
![]() |
![]() |
最後報告的影像,我們用mask盡量去除了外圍的頭骨,所以影像上看起來還可以交代得過去,但是這樣的錯誤,還是要非常小心,別再犯了。 |
正常的影像 |
另外還是想發一下牢騷,自從換了SPECT-CT後,為了配合CT的衰減校正,就不能調整ECD的旋轉角度,我很討厭這樣的設定,非常非常非常非常痛恨,病人沒有辦法都躺的很正,所以才要靠後處理來將腦袋轉正,轉正指的是左右對稱外,還包括傾斜角的調整。因為這台機器的裝機時我沒能參與,導致很多細節方面我都很不滿意。這陣子有很多事情都在調整中,等我有空,再來找AP來解決這個問題。
★到底是不是假影?
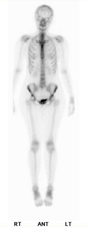
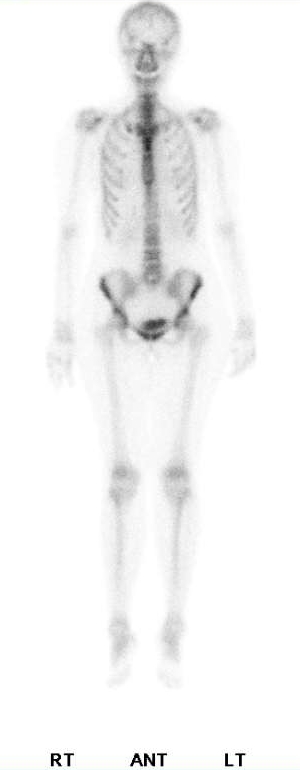
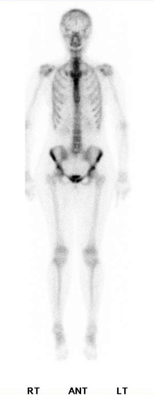
這是一位30多歲的肺癌女性患者,在連續的bone scan追蹤系列影像,由於是肺癌患者,所以大家的焦點都集中在肺部,可是在中間的那一次檢查裡,我們的醫生突然發現病人右邊的股骨頸那邊好像出現了甜甜圈的影像,該不會是治療的藥物造成了那邊的缺血性壞死AVN?於是就在報告上提到了這件事,然後臨床的醫師也很關心這個情形,就安排了核磁共振,結果卻是正常,接著病人又來進行第3次的bone scan追蹤,這次原先懷疑是AVN的地方竟然就沒事了,我跟我們家的醫師反反覆覆的看了幾次影像的原始檔,最後得出的結論是,第2次的影像有可能是口袋裡有銅板,造成的影像缺損才會那麼的圓,但是由於當時也沒有補局部的影像,因此一切也都是猜測。這件事告訴我們,首先,就算是已經確定病情的患者,在判讀影像時也要多留意其他的區域,才不至於有遺漏的地方,再者,就算病人說身上都沒有金屬或是其他異物,也不代表你可以放心的照,看到怪怪的地方,還是多檢查一遍會比較好。
![]() |
![]() |
![]() |
2018/7/23 |
2018/10/19 |
2019/1/14 |